nb need part number mazdaspeed rear lower lip
I have searched the forum. Finding trouble locating the oem factory part number for the rear lower lip on the 99-04 Mazdaspeed. Would really appreciate some help.
Hmm. I can't find the rear lip in Mazdaspeed's part system. Which isn't to say it isn't there, just that I can't find it.
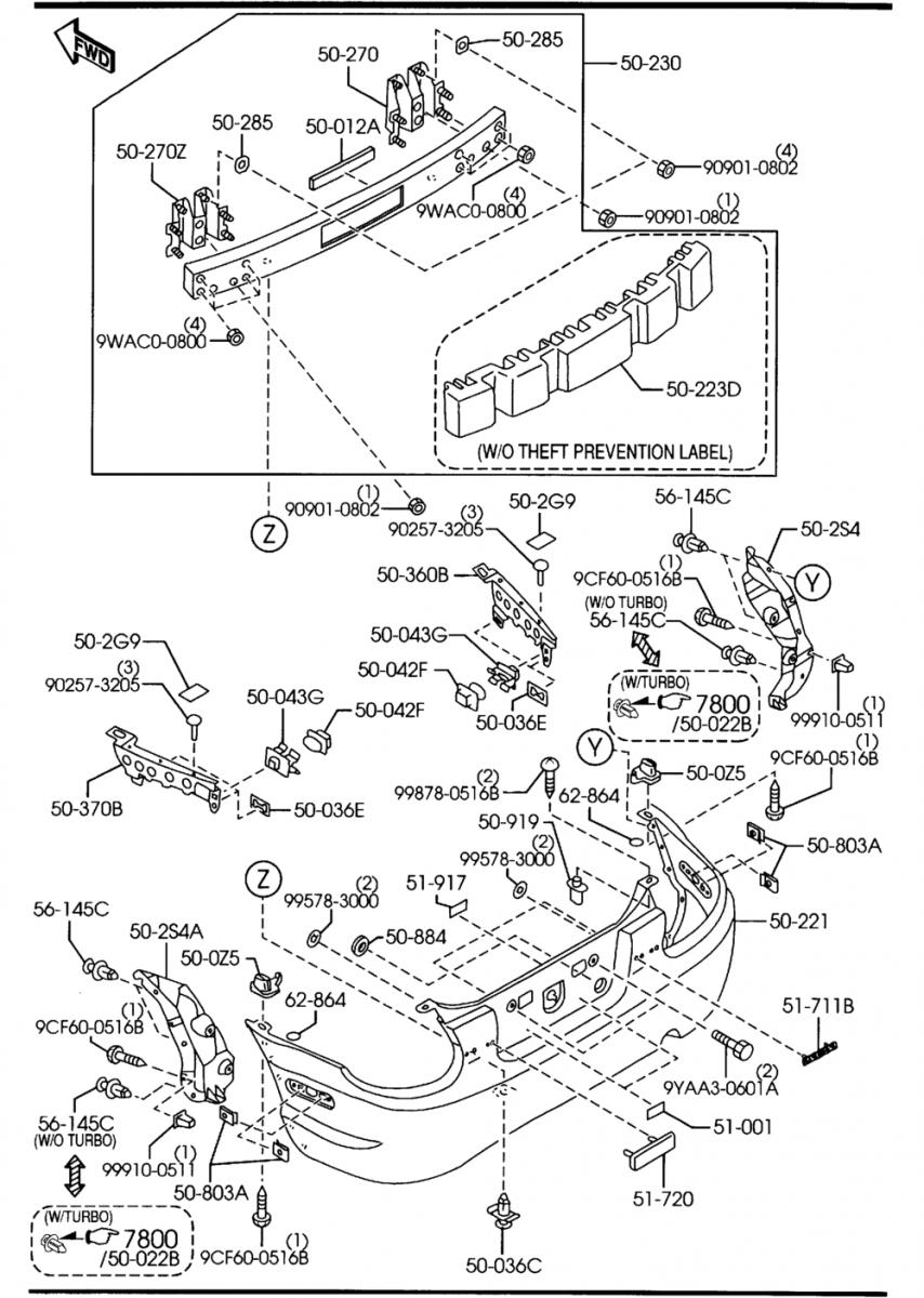
The rear bumper itself for the mazdaspeed is NEY1-50-210. Best bet is to call a mazda dealer and speak to their parts guy, their ability to look stuff up is better than ours. Eric Bass at Tonkin Mazda in Portland has been very helpful to me in the past.

D-Code Part Number Description Price
50-012A N066-50-6H1 PROTECTOR INAC $11.12
$6.67
Qty
50-036C BF67-50-033 FASTENER $2.01
$1.21
Qty
50-036E GJ21-50-049 CLIP $2.12
$1.27
Qty
50-042F NC10-50-E11B SLIDE'B',BUMPER $2.12
$1.27
Qty
50-043G NC10-50-E13A SLIDE,FRONT BUMPER $1.69
$1.02
Qty
50-0Z5 BC1M-50-0Z5 GROMMET,SCREW $1.73
$1.04
Qty
50-221 NCY1-50-220G RR BUMPER $381.27
$228.72
Qty
Start Date End Date Notes
PAINT TO MATCH W/O TURBO
50-221 NCY1-50-220G-8J RR BUMPER $381.27
$228.72
Qty
Start Date End Date Notes
PAINT TO MATCH W/O TURBO
50-221 NEY1-50-210 BUMPER,RR ( MAZDASPEED ) $465.67
$279.35
Qty
Start Date End Date Notes
W/TURBO
50-223D NC13-50-311A FOAM,BUMPER-RR $183.65
$110.17
Qty
Start Date End Date Notes
01/01/2005 W/O THEFT PREVENTION LABEL - 050101
01/01/2005 W/RUNNING LAMP 050101 -
50-230 NC13-50-260E REINF,BUMPER-REAR $362.70
$217.58
Qty
Start Date End Date Notes
01/01/2005 W/O THEFT PREVENTION LABEL - 050101
01/01/2005 W/RUNNING LAMP 050101 -
50-230 NC72-50-260E REINFORCEMENT,BUMPER $324.27
$194.52
Qty
Start Date End Date Notes
01/01/2005 W/THEFT PREVENTION LABEL - 050101
01/01/2005 W/O RUNNING LAMP 050101 -
50-270 NC10-50-270A STAY(R),RR. BUMPER $79.70
$47.81
Qty
50-270Z NC10-50-280B STAY(L),RR. BUMPER $79.70
$47.81
Qty
50-285 G030-50-285 GASKET, SEAL $4.03
$2.42
Qty
50-2G9 NC10-50-2G1C SEAL,RUBBER $1.69
$1.02
Qty
50-2S4 NC10-50-341D SHIELD RT, SPL RR BMPR $23.40
$14.04
Qty
50-2S4A NC10-50-351D SHIELD LT, SPL RR BMPR $23.40
$14.04
Qty
50-360B NC10-50-361B GUARD(R),RR BUMPER $10.27
$6.16
Qty
50-370B NC10-50-371B GUARD(L),RR BUMPER $10.27
$6.16
Qty
50-803A G158-50-803 SIDE PROTECTOR NUT $2.15
$1.29
Qty
50-884 B455-50-G32 TAPE $2.01
$1.21
Qty
50-884 NC10-50-EM1 TAPE $2.27
$1.36
Qty
50-919 B216-50-919 SCREW GROMMET $3.00
$1.80
Qty
Start Date End Date Notes
12V 21W SILVER
51-711B NC10-51-711 ORNAMENT,MAKER NAME-REAR $15.65
$9.39
Qty
Start Date End Date Notes
09/01/2003 W/ORNAMENT W/O TURBO
09/01/2003 W/O TURBO W/ORNAMENT
51-720 NC10-51-721B ORNAMENT $21.85
$13.10
Qty
Start Date End Date Notes
09/01/2003 MIATA W/O TURBO
51-720 NC30-51-721B ORNAMENT $26.26
$15.75
Qty
Start Date End Date Notes
09/01/2003 MX-5 W/O TURBO
51-917 NC10-50-2G2 SEAL,RUBBER $1.83
$1.10
Qty
56-181D BC1D-56-145 CLIP,MUD GUARD $1.76
$1.06
Qty
Start Date End Date Notes
W/O TURBO
W/TURBO
62-864 G043-62-864A TAPE,PROTECTOR-STOPPER $2.20
$1.32
Qty
90-257 9025-73-205 RIVET $1.08
$0.65
Qty
90-720 9983-30-406 SCREW $1.20
$0.72
Qty
90-720 9983-30-420 SCREW $1.07
$0.64
Qty
90-720 9CF6-00-516B SCREW $2.40
$1.44
Qty
90-720 9YA5-10-401 SCREW $1.07
$0.64
Qty
90-780 9YAA-30-601A BOLT $4.30
$2.58
Qty
90-901 9991-60-500 NUT $0.75
$0.45
Qty
90-901 9991-80-800 NUT $1.58
$0.95
Qty
90-901 9991-90-600 WELD NUT $1.85
$1.11
Qty
90-901 9992-10-800A NLA 4/10 $2.32
$1.39
Qty
90-901 9WAC-00-800 NUT $1.57
$0.94
Qty
90-906 9090-10-802 NUT, FLANGE $3.38
$2.03
Qty
99-175 9987-80-516B SCREW,TAPPING $2.45
$1.47
Qty
99-577 9957-83-000 NUT $1.18
$0.71
Qty
99-910 9991-00-511 GROMMET, SCREW $3.38
$2.03
Qty
The rear bumper itself for the mazdaspeed is NEY1-50-210. Best bet is to call a mazda dealer and speak to their parts guy, their ability to look stuff up is better than ours. Eric Bass at Tonkin Mazda in Portland has been very helpful to me in the past.

D-Code Part Number Description Price
50-012A N066-50-6H1 PROTECTOR INAC $11.12
$6.67
Qty
50-036C BF67-50-033 FASTENER $2.01
$1.21
Qty
50-036E GJ21-50-049 CLIP $2.12
$1.27
Qty
50-042F NC10-50-E11B SLIDE'B',BUMPER $2.12
$1.27
Qty
50-043G NC10-50-E13A SLIDE,FRONT BUMPER $1.69
$1.02
Qty
50-0Z5 BC1M-50-0Z5 GROMMET,SCREW $1.73
$1.04
Qty
50-221 NCY1-50-220G RR BUMPER $381.27
$228.72
Qty
Start Date End Date Notes
PAINT TO MATCH W/O TURBO
50-221 NCY1-50-220G-8J RR BUMPER $381.27
$228.72
Qty
Start Date End Date Notes
PAINT TO MATCH W/O TURBO
50-221 NEY1-50-210 BUMPER,RR ( MAZDASPEED ) $465.67
$279.35
Qty
Start Date End Date Notes
W/TURBO
50-223D NC13-50-311A FOAM,BUMPER-RR $183.65
$110.17
Qty
Start Date End Date Notes
01/01/2005 W/O THEFT PREVENTION LABEL - 050101
01/01/2005 W/RUNNING LAMP 050101 -
50-230 NC13-50-260E REINF,BUMPER-REAR $362.70
$217.58
Qty
Start Date End Date Notes
01/01/2005 W/O THEFT PREVENTION LABEL - 050101
01/01/2005 W/RUNNING LAMP 050101 -
50-230 NC72-50-260E REINFORCEMENT,BUMPER $324.27
$194.52
Qty
Start Date End Date Notes
01/01/2005 W/THEFT PREVENTION LABEL - 050101
01/01/2005 W/O RUNNING LAMP 050101 -
50-270 NC10-50-270A STAY(R),RR. BUMPER $79.70
$47.81
Qty
50-270Z NC10-50-280B STAY(L),RR. BUMPER $79.70
$47.81
Qty
50-285 G030-50-285 GASKET, SEAL $4.03
$2.42
Qty
50-2G9 NC10-50-2G1C SEAL,RUBBER $1.69
$1.02
Qty
50-2S4 NC10-50-341D SHIELD RT, SPL RR BMPR $23.40
$14.04
Qty
50-2S4A NC10-50-351D SHIELD LT, SPL RR BMPR $23.40
$14.04
Qty
50-360B NC10-50-361B GUARD(R),RR BUMPER $10.27
$6.16
Qty
50-370B NC10-50-371B GUARD(L),RR BUMPER $10.27
$6.16
Qty
50-803A G158-50-803 SIDE PROTECTOR NUT $2.15
$1.29
Qty
50-884 B455-50-G32 TAPE $2.01
$1.21
Qty
50-884 NC10-50-EM1 TAPE $2.27
$1.36
Qty
50-919 B216-50-919 SCREW GROMMET $3.00
$1.80
Qty
Start Date End Date Notes
12V 21W SILVER
51-711B NC10-51-711 ORNAMENT,MAKER NAME-REAR $15.65
$9.39
Qty
Start Date End Date Notes
09/01/2003 W/ORNAMENT W/O TURBO
09/01/2003 W/O TURBO W/ORNAMENT
51-720 NC10-51-721B ORNAMENT $21.85
$13.10
Qty
Start Date End Date Notes
09/01/2003 MIATA W/O TURBO
51-720 NC30-51-721B ORNAMENT $26.26
$15.75
Qty
Start Date End Date Notes
09/01/2003 MX-5 W/O TURBO
51-917 NC10-50-2G2 SEAL,RUBBER $1.83
$1.10
Qty
56-181D BC1D-56-145 CLIP,MUD GUARD $1.76
$1.06
Qty
Start Date End Date Notes
W/O TURBO
W/TURBO
62-864 G043-62-864A TAPE,PROTECTOR-STOPPER $2.20
$1.32
Qty
90-257 9025-73-205 RIVET $1.08
$0.65
Qty
90-720 9983-30-406 SCREW $1.20
$0.72
Qty
90-720 9983-30-420 SCREW $1.07
$0.64
Qty
90-720 9CF6-00-516B SCREW $2.40
$1.44
Qty
90-720 9YA5-10-401 SCREW $1.07
$0.64
Qty
90-780 9YAA-30-601A BOLT $4.30
$2.58
Qty
90-901 9991-60-500 NUT $0.75
$0.45
Qty
90-901 9991-80-800 NUT $1.58
$0.95
Qty
90-901 9991-90-600 WELD NUT $1.85
$1.11
Qty
90-901 9992-10-800A NLA 4/10 $2.32
$1.39
Qty
90-901 9WAC-00-800 NUT $1.57
$0.94
Qty
90-906 9090-10-802 NUT, FLANGE $3.38
$2.03
Qty
99-175 9987-80-516B SCREW,TAPPING $2.45
$1.47
Qty
99-577 9957-83-000 NUT $1.18
$0.71
Qty
99-910 9991-00-511 GROMMET, SCREW $3.38
$2.03
Qty
Thanks. I found a comprehensive parts list a few minutes ago. The last page is where the lower lip is and it is the one page missing! Page 254
MAZDASPEED MOTORSPORTS DEVELOPMENT - Miata Parts Catalogs and Collision Guides 1990-2002
Also a pretty good service manual
http://www.boostedmiata.com/pdfs/199...e%20Manual.pdf
MAZDASPEED MOTORSPORTS DEVELOPMENT - Miata Parts Catalogs and Collision Guides 1990-2002
Also a pretty good service manual
http://www.boostedmiata.com/pdfs/199...e%20Manual.pdf
The Mazdaspeed was only '04 and '05 so the 2002 collision guide may not have everything listed. At best, searching for a "1999 Mazdaspeed" lip will confuse things. Best bet is to call a dealer.
Best bet is to find a partout with the right damage. I don't recall if the lip comes off so you can install it on a stock NB bumper. Cold and wet out now but you can ask in the morning.
Thread
Thread Starter
Forum
Replies
Last Post
Frank_and_Beans
Supercharger Discussion
13
Sep 12, 2016 08:17 PM
stoves
Suspension, Brakes, Drivetrain
5
Apr 21, 2016 03:00 PM






