Clever idea, damping the cylinder peak pressure
I see some wackassness like this possibly being uswful in valveyrain. Like if ur cylinder kerbloses then the camshat shhits over to the side and pop the valves open and voosh goes the detonations
Thread Starter
Junior Member
iTrader: (1)
Joined: Aug 2008
Posts: 341
Total Cats: 2
From: Granada, Spain
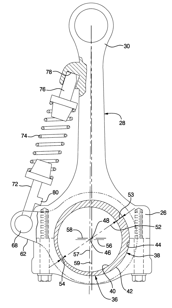
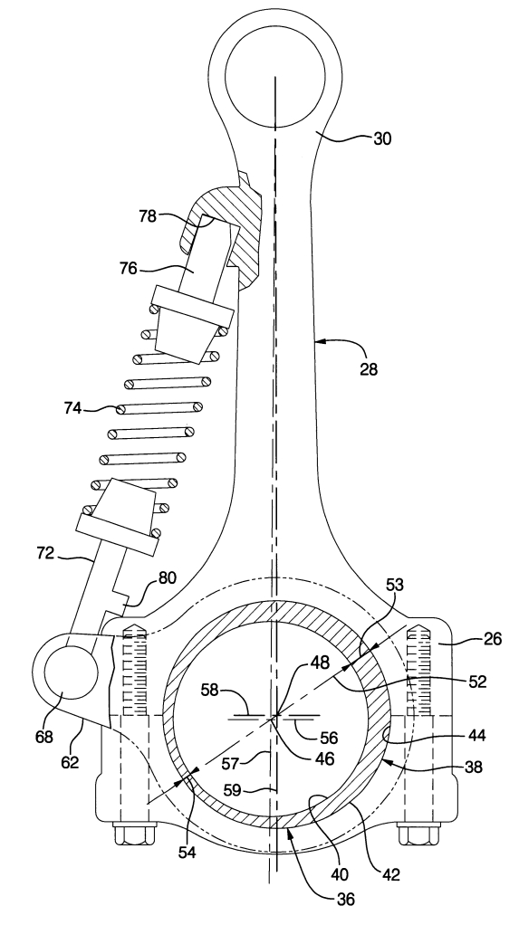
To provide peak cylinder pressure control, an eccentric bearing is biased toward a first angular position wherein an attached piston is raised to a maximum compression ratio position in the cylinder. The compression ratio may remain constant at lower loads and above until a predetermined force generated by cylinder pressure is reached. At this point, the force acting on the eccentric lever arm or eccentricity of the bearing overcomes the restraining biasing force, causing the eccentric bearing to rotate in the connecting rod to move the eccentric end of the rod outward, away from the cylinder. This motion effectively shortens the length of the connecting rod and moves the piston downward relative to a connected crankpin. In this manner, the effective compression ratio of the cylinder is temporarily reduced and the pressure developed in the cylinder is controlled by the mechanical mechanism.
http://www.freepatentsonline.com/6701885.html
Joined: Sep 2005
Posts: 34,417
Total Cats: 7,532
From: Chicago. (The less-murder part.)
I'm still trying to wrap my head around it, but in theory, the system should not start to decrease effective CR until chamber pressure exceeds the pressure needed to deflect the spring. So this is more like an engine with a dynamically variable compression ratio. That would allow you to run more boost without detonation while still maintaining efficiency at low to moderate load conditions.
(I think.)
(I think.)
im sorry, im no engineer, but does not the rod still have to bend in order to compress/contract the spring?
also, it's probably not a good thing to have a spring rub your cylinder walls right?
BTW I just invented a new stlye of coilbesides.
also, it's probably not a good thing to have a spring rub your cylinder walls right?
BTW I just invented a new stlye of coilbesides.
Last edited by Braineack; May 2, 2012 at 10:04 AM.
From my non-engineer observation
The bottom end of the spring is not attached to the big end of the rod, it is attached, instead, to the crankshaft, the big end and the lower spring are therefore independent of one another.
The big end is attached to the crankshaft via eccentric bearing (correct?) The spring holds the rod in the "up" position until too much compression is achieved, at which point the compression forces the rod downward causing it to rotate on the eccentric bearing to the furthest "down" point, which compresses the spring. At the end of the exhaust stroke, the load on the piston is reduced and the spring un-compresses, which rotates the big end of the rod back to the "up" position.
End of non-engineer observation
Beginning of non-engineer logic
In practice, it looks like a failboat idea. If the spring is strong enough to rotate the friction surface of the eccentric bearing back to the "up" position, then the combustion event is going to be able to overpower the spring + friction on every single combustion stroke, which means that the cylinder is *not* variable compression - it is *minimum* compression every time.
Oh, and then you've got the added weight and complexity of the system.
Here's an alternative use for this application:
If you could find a way to lock the rod in the "up" position on the combustion stroke, and unlock the rod on the intake stroke, you would have a piston which could theoretically stay "down" longer at higher RPMs on the intake stroke as the inertia of the piston + rod overcomes the upward force applied by the spring, which could result in a more valuable intake stroke...
Intake stroke begins, rod is in the "up" position, relative to the crankshaft. Dynamic locking system on the eccentric bearing "unlocks" as the downstroke begins.
At the bottom of the intake stroke, the cylinder is pulling maximum vacuum through the intake ports. Crankshaft transitions from the intake stroke to the compression stroke. The downward inertia of the rod/piston momentarily overcomes the force applied by the spring, and very briefly continues downward before shooting back upwards. The force of inertia is increased as RPMs increase, thereby pulling more vacuum across the intake valves as the engine spins up which helps to reduce torque drop-off at high RPMs. At the very bottom of the intake stroke, the "locking crankshaft" re-activates the locking mechanism - since the rod has already moved away from the lock catch, the locking mechanism stays activated but not engaged, ready to "catch" the piston once it returns to the full up position.
Approximately halfway through the compression stroke, the spring has returned the piston to the full "up" position. The compression in the cylinder at this point is a mere 2:1, not nearly enough to overcome the spring force. The activated locking system immediately re-engages the lock catch, holding the piston in the full up position. The locking mechanism stays activated and engaged throughout the remainder of the compression stroke, and the full combustion and exhaust strokes before de-activating once more for the next intake stroke.
Cool theory, but how to unlock during the intake stroke while keeping it locked during the combustion stroke? I don't know - I'm going to go take a crap and work-out now.
The bottom end of the spring is not attached to the big end of the rod, it is attached, instead, to the crankshaft, the big end and the lower spring are therefore independent of one another.
The big end is attached to the crankshaft via eccentric bearing (correct?) The spring holds the rod in the "up" position until too much compression is achieved, at which point the compression forces the rod downward causing it to rotate on the eccentric bearing to the furthest "down" point, which compresses the spring. At the end of the exhaust stroke, the load on the piston is reduced and the spring un-compresses, which rotates the big end of the rod back to the "up" position.
End of non-engineer observation
Beginning of non-engineer logic
In practice, it looks like a failboat idea. If the spring is strong enough to rotate the friction surface of the eccentric bearing back to the "up" position, then the combustion event is going to be able to overpower the spring + friction on every single combustion stroke, which means that the cylinder is *not* variable compression - it is *minimum* compression every time.
Oh, and then you've got the added weight and complexity of the system.
Here's an alternative use for this application:
If you could find a way to lock the rod in the "up" position on the combustion stroke, and unlock the rod on the intake stroke, you would have a piston which could theoretically stay "down" longer at higher RPMs on the intake stroke as the inertia of the piston + rod overcomes the upward force applied by the spring, which could result in a more valuable intake stroke...
Intake stroke begins, rod is in the "up" position, relative to the crankshaft. Dynamic locking system on the eccentric bearing "unlocks" as the downstroke begins.
At the bottom of the intake stroke, the cylinder is pulling maximum vacuum through the intake ports. Crankshaft transitions from the intake stroke to the compression stroke. The downward inertia of the rod/piston momentarily overcomes the force applied by the spring, and very briefly continues downward before shooting back upwards. The force of inertia is increased as RPMs increase, thereby pulling more vacuum across the intake valves as the engine spins up which helps to reduce torque drop-off at high RPMs. At the very bottom of the intake stroke, the "locking crankshaft" re-activates the locking mechanism - since the rod has already moved away from the lock catch, the locking mechanism stays activated but not engaged, ready to "catch" the piston once it returns to the full up position.
Approximately halfway through the compression stroke, the spring has returned the piston to the full "up" position. The compression in the cylinder at this point is a mere 2:1, not nearly enough to overcome the spring force. The activated locking system immediately re-engages the lock catch, holding the piston in the full up position. The locking mechanism stays activated and engaged throughout the remainder of the compression stroke, and the full combustion and exhaust strokes before de-activating once more for the next intake stroke.
Cool theory, but how to unlock during the intake stroke while keeping it locked during the combustion stroke? I don't know - I'm going to go take a crap and work-out now.
Thread
Thread Starter
Forum
Replies
Last Post
Zaphod
MEGAsquirt
47
Oct 26, 2018 11:00 PM
stoves
Suspension, Brakes, Drivetrain
5
Apr 21, 2016 03:00 PM
JesseTheNoob
DIY Turbo Discussion
15
Sep 30, 2015 02:44 PM










