No fuel pump after reflash.
Thread Starter
Senior Member
iTrader: (5)
Joined: Jan 2008
Posts: 1,260
Total Cats: 5
From: Central, TX / Bay area, CA
So I installed an intercooler and got rid of the stock air meeter on my friends 91, I re-flashed for w/o air meeter and now the fuel pump will only come on if I jump it in the diagnostic box. It seems to come on some times but only enough to get up to 19psi rail pressure. I tried re-flashing a few times but that didn't help. Any one have any advice? Does this seem MS related or should I be looking elsewhere?
Joined: Sep 2005
Posts: 34,416
Total Cats: 7,532
From: Chicago. (The less-murder part.)
In the '90-'93 cars, the fuel pump is controlled by a switch contact inside the AFM housing. Specifically, this switch applies a closure from the light green wire to ground (the black wire) at the AFM connector.
It is also active when the starter is turning (via a separate path between the starting circuit and the "circuit opening relay" (fuel pump relay) which is probably why you see a little bit of pressure.
Unless you have made a specific affordance to control the fuel pump external to the AFM, it's not going to work.
It is also active when the starter is turning (via a separate path between the starting circuit and the "circuit opening relay" (fuel pump relay) which is probably why you see a little bit of pressure.
Unless you have made a specific affordance to control the fuel pump external to the AFM, it's not going to work.
The instructions I got said i needed to jump the fuel pump in the diag box. A friend of mine wired in something in MS that runs it now, but the diag box is how the car ran for probably around 7 months.
Is it possible you blew the relay under the dash? You might try jumpering it (the pins to jump are listed in the Rod's Enthusiast manual if you have one handy) or replacing it if you have a spare.
Joined: Sep 2005
Posts: 34,416
Total Cats: 7,532
From: Chicago. (The less-murder part.)
Is the unit on your friend's car an MSPnP or a regular MS? They're quite a lot different in this specific regard.
The PnP model has an onboard circuit which drives the fuel pump in a rather interesting sort of way, by feeding voltage out the ST SIGN line to the pump relay. Incidentally, this is the reason you need to pull the ST SIGN fuse when installing an MSPnP- if you don't then you'll blow that particular circuit the first time you hit the starter.
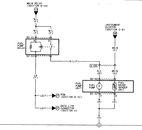
WRT nickt93's observation, the relay in question is rather unusual in that it has two windings. One is controlled by the AFM and the diag box (a light green wire that needs to be pulled to ground) and the other one goes to the starer circuit and the ECU (a violet wire which needs +12 applied to it to operate.) I suppose it could be that this latter winding is shot. If this were the case, then the relay would work with either the AFM in place or a jumper wire installed in the diag box, but it would not work on the starter circuit or with an MSPnP.
Here's the relay wiring:
The PnP model has an onboard circuit which drives the fuel pump in a rather interesting sort of way, by feeding voltage out the ST SIGN line to the pump relay. Incidentally, this is the reason you need to pull the ST SIGN fuse when installing an MSPnP- if you don't then you'll blow that particular circuit the first time you hit the starter.
WRT nickt93's observation, the relay in question is rather unusual in that it has two windings. One is controlled by the AFM and the diag box (a light green wire that needs to be pulled to ground) and the other one goes to the starer circuit and the ECU (a violet wire which needs +12 applied to it to operate.) I suppose it could be that this latter winding is shot. If this were the case, then the relay would work with either the AFM in place or a jumper wire installed in the diag box, but it would not work on the starter circuit or with an MSPnP.
Here's the relay wiring:
Thread Starter
Senior Member
iTrader: (5)
Joined: Jan 2008
Posts: 1,260
Total Cats: 5
From: Central, TX / Bay area, CA
Thanks for the info joe, yes they are both PNP. Ill check to see if the st sign fuse is still in there. I just figured it would have been removed since it is a pnp and that is one of the first things in the directions besides unplug the ignitor before burning the firmware. So if that circut is burned the only way is a jumper in the diagnostic box, that means the the MS will not control the fuel pump correct?
It's actually a ZTX553, but yeah it's fried...
Pretty easy to replace if you want to do it yourself. Here's the part that you need:
http://www.diyautotune.com/catalog/t...3nd-p-243.html
Pretty easy to replace if you want to do it yourself. Here's the part that you need:
http://www.diyautotune.com/catalog/t...3nd-p-243.html
It was in place when the frying occurred. Removing it afterwards didn't put the smoke back in the transistor.
Joined: Sep 2005
Posts: 34,416
Total Cats: 7,532
From: Chicago. (The less-murder part.)
That, and they also removed the line from the starting circuit, took away the second coil winding... pretty much made it like a normal car where the ECU is in full and exclusive control of the fuel pump.

A couple of things to bear in mind about the first diagram I posted (from the 1.6):
1: The W/R wire at note (10), from the ECU, isn't actually coming from the ECU. Schematically, the other end of that wire is on the same PAGE as the ECU, but it comes from the main relay. That wire has +12 any time the key is on. That's it.
2: On the V wire at note (11), the directional arrow is wrong. It implies that the ECU is providing voltage on that line. It isn't. In the stock setup, the ECU is SENSING voltage on that line. The line above it, from the starting circuit, is where voltage actually comes into the relay during cranking (through the ST SIGN fuse) and then it gets branched off to be fed TO the ECU, as this is how the ECU senses that you are cranking.
2a: That's the circuit that gets hi-jacked on the MSPnP. They build a little circuit (using the aforementioned ZTX553 transistor) which feeds voltage OUT of the ECU onto that wire, which has the effect of energizing the relay on the "starter" coil. The problem is that if the fuse wasn't removed, the starter circuit will back-feed voltage into the ECU (as it was designed to do) and for some reason, this has the effect of destroying the circuit that DIY built. (Design tip for DIY: there are some places where a physical relay is a good idea. We still use 'em in certain places on our pro audio consoles.)
2b: The reason that line is there at all (in the stock configuration) is that during cranking on the starter, you can't rely on the assumption that there's going to be enough airflow through the AFM to open the flapper and thus close the switch. This circuit makes sure that the fuel pump energizes and supplies fuel so long as the starter is turning. Once the engine fires up, the AFM flapper opens far enough to trip the fuel pump contacts, and that is what keeps the pump running after you've taken your hand off the key.
QUICK DIAGNOSTIC TEST:
Remove the connector from the relay, and stick a voltmeter between the violet wire and ground. Turn on the car. You should see +12 here whenever the Fuel Pump icon in Megatune is green.
See voltage? Bad relay. No voltage? Blown transistor.

A couple of things to bear in mind about the first diagram I posted (from the 1.6):
1: The W/R wire at note (10), from the ECU, isn't actually coming from the ECU. Schematically, the other end of that wire is on the same PAGE as the ECU, but it comes from the main relay. That wire has +12 any time the key is on. That's it.
2: On the V wire at note (11), the directional arrow is wrong. It implies that the ECU is providing voltage on that line. It isn't. In the stock setup, the ECU is SENSING voltage on that line. The line above it, from the starting circuit, is where voltage actually comes into the relay during cranking (through the ST SIGN fuse) and then it gets branched off to be fed TO the ECU, as this is how the ECU senses that you are cranking.
2a: That's the circuit that gets hi-jacked on the MSPnP. They build a little circuit (using the aforementioned ZTX553 transistor) which feeds voltage OUT of the ECU onto that wire, which has the effect of energizing the relay on the "starter" coil. The problem is that if the fuse wasn't removed, the starter circuit will back-feed voltage into the ECU (as it was designed to do) and for some reason, this has the effect of destroying the circuit that DIY built. (Design tip for DIY: there are some places where a physical relay is a good idea. We still use 'em in certain places on our pro audio consoles.)
2b: The reason that line is there at all (in the stock configuration) is that during cranking on the starter, you can't rely on the assumption that there's going to be enough airflow through the AFM to open the flapper and thus close the switch. This circuit makes sure that the fuel pump energizes and supplies fuel so long as the starter is turning. Once the engine fires up, the AFM flapper opens far enough to trip the fuel pump contacts, and that is what keeps the pump running after you've taken your hand off the key.
QUICK DIAGNOSTIC TEST:
Remove the connector from the relay, and stick a voltmeter between the violet wire and ground. Turn on the car. You should see +12 here whenever the Fuel Pump icon in Megatune is green.
See voltage? Bad relay. No voltage? Blown transistor.
Joined: Sep 2005
Posts: 34,416
Total Cats: 7,532
From: Chicago. (The less-murder part.)
Bueller? Bueller?
This one's really bothering me.
On the Megatune / TunerStudio display, down at the bottom left, there's an indicator for the fuel pump driver. It should turn green (or say ON) when MS is trying to turn on the fuel pump. Ought to be on at initial key-on, during cranking, for a second or two after cranking (assuming it didn't start) and always while running.
Is this coming on?
I'm still divided between "your friend blew the transistor because he didn't pull the fuse" and "there's something wrong otherwise."
So long as the AFM was present, the system would have worked fine even with a blown transistor in the MS on the fuel pump driver. So everytime I think "Well, he says it stopped working when they reflashed it" I remind myself "Well, they also removed the one piece of hardware that would have been covering up a blown fuel pump driver circuit at the same time."
This one's really bothering me.
On the Megatune / TunerStudio display, down at the bottom left, there's an indicator for the fuel pump driver. It should turn green (or say ON) when MS is trying to turn on the fuel pump. Ought to be on at initial key-on, during cranking, for a second or two after cranking (assuming it didn't start) and always while running.
Is this coming on?
I'm still divided between "your friend blew the transistor because he didn't pull the fuse" and "there's something wrong otherwise."
So long as the AFM was present, the system would have worked fine even with a blown transistor in the MS on the fuel pump driver. So everytime I think "Well, he says it stopped working when they reflashed it" I remind myself "Well, they also removed the one piece of hardware that would have been covering up a blown fuel pump driver circuit at the same time."
2a: That's the circuit that gets hi-jacked on the MSPnP. They build a little circuit (using the aforementioned ZTX553 transistor) which feeds voltage OUT of the ECU onto that wire, which has the effect of energizing the relay on the "starter" coil. The problem is that if the fuse wasn't removed, the starter circuit will back-feed voltage into the ECU (as it was designed to do) and for some reason, this has the effect of destroying the circuit that DIY built. (Design tip for DIY: there are some places where a physical relay is a good idea. We still use 'em in certain places on our pro audio consoles.)
Next board spin is getting better circuit protection on that output. Possibly a physical relay or possibly something else TBD.
Joined: Sep 2005
Posts: 34,416
Total Cats: 7,532
From: Chicago. (The less-murder part.)
Heh. I feel your pain on that one. We've fallen into that trap too, of designing a product not realizing that the dev platform itself was broken.
Actually, one of the worst I ever personally came across was one of our digital consoles (RMXd) that would occasionally stop producing mix-minus audio. It only happened at certain radio stations, and you could swap out the whole console and it wouldn't fix the problem. I finally figured it out one day while I was at a customer's site in Dallas. I'd been working on this damned console all morning, couldn't make it fail. Came back after lunch, sat down, and noticed that the sun was in my eyes.
And the console also didn't work any more.
The problem was thermal. And it only happened in consoles that were placed in rooms that had direct sunlight hitting them.
Of course, we test the **** out of our products for thermal margin in the lab. I mean, we have literally melted ICs right off the board with the heat gun trying to induce failure. But the test fixture that we used for all of our audio checkout at the time ran at 48khz (the same clockrate as our DSPs) and it just never occurred to anybody that a circuit which was perfectly stable at 48k might go totally to **** when you switched it down to 44.1k. It's totally counterintuitive, until you look at the actual silicon itself (the physical IC wafer) and you realize that doing so lengthens the physical path that the signals have to travel by several inches by the time you count up all the back-and-forth routing (it was, to be honest, a lazy design on our part) and our timing was right on the edge in that particular circuit. As in, we had something like a fraction of a nanosecond margin on that signal, and the combination of turning on the rate converters and heating the chip up made one bit fall right off the edge.
Still, I wouldn't have expected to zorch a ZTX553 by reverse-biasing it either. Maybe until the redesign you guys should hand-rework a 1N4001 in series with the collector?
Actually, one of the worst I ever personally came across was one of our digital consoles (RMXd) that would occasionally stop producing mix-minus audio. It only happened at certain radio stations, and you could swap out the whole console and it wouldn't fix the problem. I finally figured it out one day while I was at a customer's site in Dallas. I'd been working on this damned console all morning, couldn't make it fail. Came back after lunch, sat down, and noticed that the sun was in my eyes.
And the console also didn't work any more.
The problem was thermal. And it only happened in consoles that were placed in rooms that had direct sunlight hitting them.
Of course, we test the **** out of our products for thermal margin in the lab. I mean, we have literally melted ICs right off the board with the heat gun trying to induce failure. But the test fixture that we used for all of our audio checkout at the time ran at 48khz (the same clockrate as our DSPs) and it just never occurred to anybody that a circuit which was perfectly stable at 48k might go totally to **** when you switched it down to 44.1k. It's totally counterintuitive, until you look at the actual silicon itself (the physical IC wafer) and you realize that doing so lengthens the physical path that the signals have to travel by several inches by the time you count up all the back-and-forth routing (it was, to be honest, a lazy design on our part) and our timing was right on the edge in that particular circuit. As in, we had something like a fraction of a nanosecond margin on that signal, and the combination of turning on the rate converters and heating the chip up made one bit fall right off the edge.
Still, I wouldn't have expected to zorch a ZTX553 by reverse-biasing it either. Maybe until the redesign you guys should hand-rework a 1N4001 in series with the collector?








