Wanna buy a joint.
Slammed had a shitty day 'cause his NB left him on the side of the road!
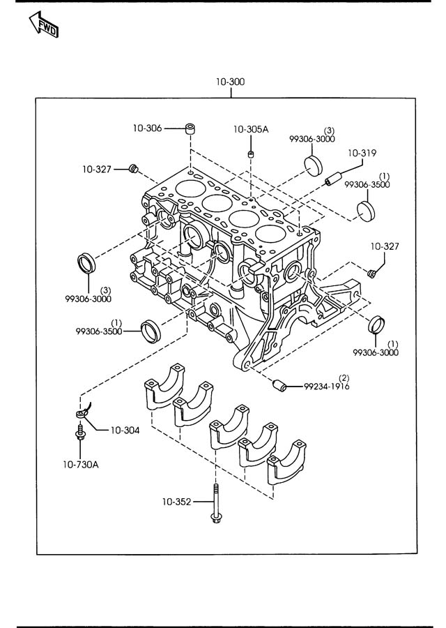
Anybody else have this part? While you're at it I need a short heater hose (head to core) AND a clutch alignment tool. Who knew I wouldn't find one local? Not me.
Anybody else have this part? While you're at it I need a short heater hose (head to core) AND a clutch alignment tool. Who knew I wouldn't find one local? Not me.
Thread
Thread Starter
Forum
Replies
Last Post
Frank_and_Beans
Supercharger Discussion
13
Sep 12, 2016 08:17 PM







and ship it out tomorrow. After that I'm out of town

